FAQ
よくあるご質問
よくあるご質問
油圧ホース製作(アッセンブリ)について
-
ホース製作を依頼する場合、何を伝えたらいいですか?
-
プロフレックスでは、高圧ホース・低圧ホース・クーラーホース・洗車用ホースなど各種ホースの製作が可能です。
ホース製作のご依頼時には、下記の項目をお知らせください。お伝えいただきたい内容(必要情報)
- ホースサイズ(内径・外径)
- 使用圧力(常用・最大)
- 流体の種類(油・水・エア・冷媒など)
- 使用する金具の種類(両端の形状・規格)
- ホースの長さ(金具の両端までの全長)
- その他の条件(用途・使用温度範囲・取り付け姿勢・相対角度※など)
これらの情報をいただくことで、最適なホース仕様を正確にご提案・製作できます。
※ホースの長さは下図の(ℓ)を参考にご指示ください。※ベンド口金具の相対角度
口金の向きが異なる場合は、片端の口金を目より遠くに上向きに置き、手前の口金の角度を時計方向に測った角度をご指示下さい。ご注文方法について
仕様確認が必要なため、お電話での注文は承っておりません。ご注文は以下の方法にてお願いします。
FAX注文 →048-687-6223※オンラインストアでのアッセンブリホースのご注文は売掛登録が必要です
受け取り方法について
プロフレックスでは 全国への配送に対応しており、 お急ぎの場合や近隣の方は 店舗での直接引取りもご利用いただけます。
店舗名 住所 TEL 本社 埼玉県さいたま市見沼区御蔵1172 048-687-6222 川崎店 神奈川県川崎市川崎区宮前町1-1 044-245-8514 品川店
※引き取りのみ東京都品川区東大井1-13-12 クレールメゾン品川109号室 03-6433-2371 アッセンブリホースはお客様の仕様に合わせて製作しますので、他用途への転用が難しいため、ご注文内容の誤りによる交換・返品はご遠慮いただいております。予めご了承ください。
-
自動車のパワーステアリングホースは製作できますか?
-
自動車のパワーステアリングホースを含む、自動車保安部品の製作は行っておりません。
以下のホースは、安全基準(保安基準)に関わるため、当社では製作・交換対応ができません。
- パワーステアリングホース(パワステホース)
- ブレーキホース
- その他の自動車保安部品に該当するホース類
自動車の保安部品は、メーカー指定の正規品や車種に適合した認証部品の使用が義務付けられています。
恐れ入りますが、ディーラーや専門整備工場へのご相談をお願いいたします。
-
ホースの出張修理はできますか?
-
現場での修理をご希望の場合は、当社の協業パートナー(ホース修理業者)様をご紹介します。
ご紹介させていただくにあたり、以下の情報をお知らせください。
- 住所(修理を行う場所)
- ホースが取り付けられている重機の機械名
- 壊れたホースの取り付け位置(例:旋回モーター付近/ブーム根元など)
-
どのようなホースを取り扱っていますか?
-
プロフレックスでは、以下の高圧ホース・低圧ホース・樹脂ホース・専用車両用ホースを取り扱っています。
ホース種類 内径サイズ 使用圧力範囲 備考 高圧ホース 6〜50mm 21〜35MPa CNS/RNS/NSSシリーズ 低圧ホース 6〜50mm 0.5〜7MPa 油圧ホースの他、水冷用ホースも在庫 樹脂ホース 3.5~50mm 用途により異なる 油・水・エア・食品用等 エアコンホース 8 / 11 / 14 / 15 / 19mm 1.5~3MPa 25mmは取寄せ フォークリフト用ホース 9 / 12mm 21MPa 6mmは取寄せ ご使用状況などからご提案させていただきます。お気軽にお問合せください。
加締機について
-
プロフレックスの加締機で、他のメーカーのホースを加締めることはできますか?
-
適合保証・安全保証ができないため、当社では推奨していません。
他社ホースは外径、補強層の仕様が当社ホースとは異なるため、適切な加締め結果にならない可能性があります。その場合、漏れや破損などのトラブルが発生しても保証できず、加締機・ホース双方が補償対象外となるためです。
安全のため、当社取扱いホースのご使用をおすすめしています。
-
加締機「S2AC」のメンテナンスや交換部品について教えてください。
-
当社では小型加締機S2ACの修理対応を行っております。加締機の使用方法については営業担当にご相談ください。
よくある症状 主な原因 お客様側対応 当社対応 油漏れ/液漏れ 配管ナットのゆるみ 〇 パッキン交換・ポンプオーバーホール等 パッキン劣化 × ポンプ内部不良・劣化 動かない/反応しない 接続不良
ポンプ内のエア噛み〇 改善しない場合は点検・修理 リミットスイッチ不良 △ ダイスがはまらない 親ダイス不良 × 親ダイス/スプリング交換 加締めが甘い マイクロメーター未調整
ホース挿入方向の不良〇 改善しない場合は点検・修理 S2AC の主なトラブル症状と原因
トラブルの症状によってはお客様にて解決ができる場合がございます。下記にお問い合わせが多い症状の一例をまとめますのでご参考ください。
詳細なトラブルシューティングの資料もご提供しておりますのでご相談ください。
修理・メンテナンス対応について
プロフレックスではS2ACの修理・調整・部品交換 を受け付けています。
トラブル発生時の症状・使用年数等をお知らせいただければ、最適な対応をご案内します。
※部品供給の終了や安全性の観点から、修理をお受けできない場合がございます。あらかじめご了承ください。
-
加締機「HM200」のメンテナンスや交換部品について教えてください。
-
HM200は定期的なメンテナンスを行うことで、安定した加締め精度を保つことができます。
プロフレックスでは、HM200の部品購入・交換・修理対応すべてに対応しています。購入可能な交換部品について
- スライドベアリング
1セット16枚単位での販売となります(※単品販売はありません) - ダイスピン
1個から購入可能(材質:スチール)
- ダイス各種
- ダイスホルダー
部品の在庫状況や適合についてはお問い合わせください。
修理・メンテナンス対応について
プロフレックスではHM200の修理・調整・部品交換 を受け付けています。
トラブル発生時の症状・使用年数等をお知らせいただければ、最適な対応をご案内します。
※部品供給の終了や安全性の観点から、修理をお受けできない場合がございます。あらかじめご了承ください。 - スライドベアリング
製品について(油圧ホース・口金具)
-
ホース商品名の見方を教えてください
-
プロフレックスのホース商品名は「シリーズ名」「ホース内径サイズ」「使用圧力」を表しています。
CNS928 の場合
- シリーズ名:CNS(Parker社製)
- ホース内径:約9.5mm(=3/8インチ相当)
- 使用圧力:280bar
RNS9-280 の場合
- シリーズ名:RNS(RYCO社製)
- ホース内径:約9.5mm(=3/8インチ相当)
- 使用圧力:280bar
-
油圧ホースは50mなどの長さで購入できますか?(ロール長さについて)
-
プロフレックスでは油圧ホースのロールは基本的に 約20m巻で販売しております。製品の在庫状況により16〜25mの範囲で変動する場合があります。詳しくはお問合せください。
20mを超える長さをご希望の場合(長尺について)
20mを超える長さについては長尺(60〜130m)での取扱いとなります。ただし、製造工程の都合により、100mロットでもつなぎ目が入る場合があります。20mを超える長さをご希望の場合は別途ご相談ください。
短い長さ(切り売り)をご希望の場合
油圧ホースは短尺、ご希望の長さでの切り売り販売は行っていません。短い長さで使用したい場合は、ご希望の長さに金具を付けて製作する「ホースアッセンブリサービス」をご利用ください。
川崎店なら、プラスチックホース・チューブは10cmから購入できます!
- プラスチックホース
- シリコンホース
- PTFEチューブ
- 各種チューブ類
これらは 10cmからの短尺カット販売 に対応しています。
-
ホースの加締め数値を教えてください。
-
プロフレックスが販売した加締機をご使用のお客様には、加締め数値を個別にご案内しています。
正確な加締め寸法をご案内するため、ご使用中の加締機の型式をお知らせください。
-
プリッキング加工とは何ですか?
-
プロフレックス製のソケットで、他社メーカーのホースを加締める事は出来ますか?
-
使用出来ません。プロフレックスのソケットは、当社取り扱いホース(CNS/RNS など)専用に設計された金具です。
他社メーカーのホースは寸法公差・外径・補強層の仕様が異なるため、以下のリスクがあります。- 加締め不足/締めすぎによる漏れ・破損
- 加圧時のホース抜け
- ホース寿命の大幅な低下
そのため、必ず当社取扱いホースをご使用ください。
-
ほしい口金具の型番が分からないのですが、形状やサイズから選ぶことはできますか?
-
はい、可能です。
プロフレックスでは、口金具の形状・ネジサイズから適合製品を判別するための「口金具選定手順書」 をご用意しています。また、WEB上で型番検索や形状分類から絞り込める「口金具選定ツール」 もご利用いただけます。
写真をお送りいただければ、当社にて判別のお手伝いも可能です。
※選定にはノギス、合わせネジが必要ですのでご準備ください。
-
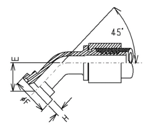
ベンド金具のE寸(首長)はどこを測ればよいですか?
-
全長1メートルのホースにガードスプリングを付ける場合、何センチのスプリングが必要になりますか?
-
ガードスプリングの長さは、ホース全長に応じて下記の計算式で求めます。
ガードスプリング長さの目安
ホース全長 計算式 例 800mm以下 ホース全長 × 0.5 800mm → 800 × 0.5 = 400mm 801mm以上 ホース全長 × 0.4 1000mm → 1000 × 0.4 = 400mm 1000mm(1m)ホースの場合、必要なスプリングの長さは1000×0.4=400mmとなります。
製品について(アダプター、カップラー、バルブ等)
-
口金具やネジサイズが合わない場合、どのアダプターを選べばよいですか?
-
プロフレックスでは、ネジ規格(JIS・UNF(JIC)・DIN など)やサイズを相互に変換するためのアダプターを多数取り扱っています。
具体的な型番は、接続する口金具の形状・ネジ規格・サイズ・使用する方向によって異なります。
最適なアダプターを特定するには、以下の情報をご確認ください。
- ネジ種別(オス / メス)
- ネジの形状・規格(テーパー/Cタイプ/Fタイプ / UNF(JIC) / DIN など)
- ネジサイズ(例:3/8、1/2 など)
-
カタログに載っていない製品(アダプター・カップラー等)が欲しいです。
-
カタログに掲載されていない製品も取り寄せで対応が可能です。アダプターに関しては特注で1個から製作いたします。
接続したいネジのサイズや形状などをお知らせください。
-
Oリングの正しい保管方法を教えて下さい。
-
Oリングはゴム製品のため、直射日光・熱・湿気・荷重に弱く、保管環境によって寿命が大きく変わります。
以下の条件で保管してください。
- 直射日光を避ける(紫外線と熱がゴムの劣化を早めます)
- 風通しが少なく、湿度の低い場所
- 冷暗所
- 埃・ゴミが付かない清潔な場所
避けるべき事項
- 高温・熱源のそばに置く
- フック、針金などに引っ掛ける
- ひもに通してぶら下げて保管する
- 変形した状態のまま長期間置く
- 油分などの付着
熱や油分、荷重等でOリングが変形すると元に戻らず、密封性が低下しますのでご注意ください。
-
フルボアボールバルブとは何ですか?
-
フルボアボールバルブとは、バルブの呼び径(配管サイズ)と、内部のボールに空いた流路径(ボア径)がほぼ同じ構造のボールバルブのことです。
配管内径とほぼ同じ太さで流れを確保できるため、圧力損失が小さく、流量をほとんど落とさずに流体を通せるという特長があります。
一般的なボールバルブは、内部のボア径が呼び径より小さくなる場合があります(=レデュースドボア)。
フルボアは 配管と同じ径のまま流れが通るため、高流量ライン・ポンプ吸込み側・粘度の高い流体などに向いています。
-
洗浄機のノズルやランスの部品は単品で購入できますか?
-
プロフレックスでは完成品の洗浄ガン以外にも、ノズル、ベントランスのグリップ、ノズルホルダーなど補修部品の単品販売にも対応しています。
メーカー・型式・圧力・吐出量・噴射角度、または部品の写真をお知らせください。適合する部品をご案内します。
-
くい込み継手の正しい接続方法を教えてください。
-
くい込み継手(スエージング継手・Wフェルール方式)の作業時の注意点と接続方法は以下の通りです。詳細は技術資料をご確認ください。
作業注意
- 傷や変形のないパイプを使用すること
- パイプは直角切断
- バリ・異物の除去を徹底
- 曲げ加工はサイズ適合チューブベンダーで行うこと
- 継手の近傍での曲げは変形に注意
- 再締付けは可能
接続手順
- パイプにフロントフェルール、リアフェルール、袋ナットの順で正しく通す
- パイプを本体奥まで確実に差し込む
- 袋ナットを手で回らなくなるまで締め、基準線をマーク
- スパナで 1 1/4 回転締付(3mm・4mm・3.18mm は 3/4 回転)
パーカー製品について
-
パーカー製品のカタログはありますか?
-
はい、パーカー製品のカタログはこちらから確認できます。
掲載していない製品についても、ご要望の製品のカタログ・技術資料・互換表を取り寄せてご案内いたします。
-
パーカー製継手の型番が分かりません。調べてもらえますか?
-
現物または写真をお送りいただければ判別いたします。
お持ちでない場合、ご使用される状況、圧力、流体など詳細をお知らせください。
-
パーカーのOリング「2-008」を探していますが、注文できますか?
-
「2-008」はサイズを表す番号のため、材質(コンパウンド)の指定が必要です。
例:
- NBR(ニトリル)
- FKM(バイトン)
- EPDM(エチレン・プロピレン・ジエン・モノマー)
- 硬度 70 / 90 など
Oリングコンパウンドカタログをご参照の上、材質をご指定ください。
-
ZINGA製エレメントの見積は可能ですか?
-
先ずは互換性のあるParker社製品にて提案いたします。ZINGA社の型番をご教示ください。
ISO規格に基づくマルチパス・テストにより性能を確認した製品を提供いたします。
-
パーカーのEOとEO‑2継手の違いは何ですか?
-
EOとEO‑2はどちらもパーカーの鋼管食い込み継手ですが、ナット内部のシール方式が異なります。
ボディ形状は共通のため互換性があります。種類 EO EO-2 シール方式 メタルリング ソフトラバー付リング 特徴 - 鋼管に食い込む金属同士の密封
- 油圧用途で広く使用
- 配管との密封性が高く、油漏れリスクが大幅に減少
- 組み付けが容易で、習熟度に左右されにくい
材質(型式に末尾で表記) CF:鉄製(三価クロムフリー)71:ステンレス製(SUS316L)MS:真鍮製 メタルシールタイプは専用のシート形状が異なるため、EDシールを取り外しての代用はできません。
-
EO とA-LOK の違いを教えてください。
-
用途と対象配管が異なります。
EO:鋼管の食い込み継手(主に油圧用途向け)
流体:油・水・空気・蒸気・粉体などA-LOK:ステンレスチューブ用のWフェルール継手(主に計装用途向け)
流体:薬品・ガスなど → 耐薬品データ参照
-
一度締めたEO-2のファンクションナットを外して再利用は可能でしょうか?
-
EO‑2 のファンクションナットは、ナット本体は再利用できますが、内蔵されているソフトラバー付シールは再利用できません。
シールは締付時にパイプへ圧着・変形するため、一度使用すると密封性能が戻らない構造です。
-
VKAMのプラグは交換できますか?
-
VKAMはプラグの取外しはできません。VKAM はプラグ一体構造のため、プラグのみを外して交換する仕様ではありません。
プラグの交換を必要とする場合はVKA(ブランキングプラグ)+Mナットの組合せをご利用ください。
ネジについて
-
ネジの表現方法について教えてください。
-
管用(くだよう)ネジの形には、テーパーネジ(PT)と平行ネジ(PF)があります。
管用テーパーネジ(PT)=現行JISの R / Rc
管用テーパーネジは、ねじ山そのものがテーパー(先細り)になっており、ねじの圧入とシール剤(シールテープ)で密封するタイプです。
ネジの種類 旧JIS表記 現JIS表記 テーパーオネジ PT R テーパーメネジ PT Rc 平行メネジ PS Rp 管用平行ネジ(PF)=現行JISの G(平行)
平行ネジは、ねじ部がまっすぐ(平行)で、シート面やOリング・パッキンで密封するタイプです。
ネジの種類 旧JIS表記 現JIS表記 平行オネジ PF G(オネジ) 平行メネジ PF G(メネジ) ※平行メネジ(Rp)は、Gメネジと寸法許容差が異なるため、別のねじとして扱われます。
当社ではお客様に伝わりやすいように、シート面の形状をでっぱりシート(凸)ならびにへっこみシート(凹)とご案内しています。
ネジの表現例
組み合わせ例 Rオネジ × Rcメネジ シールテープ Gオネジ(へっこみシート)とGメネジ(でっぱりシート) シート面 Gオネジ(でっぱりシート)とGメネジ(へっこみシート) シート面 ※この他、OリングやパッキンでシールするGネジもあります。
-
JIS規格とは何ですか?
-
JIS規格(Japanese Industrial Standards)は、日本の産業製品に関する国家規格です。
測定方法・安全基準・ねじ規格など、日本国内で使われる多くの機械部品がJISによって標準化されています。
当社が取り扱う継手の中でも、ガスネジ(テーパーネジ=R/Rc・平行ネジ=G) はJIS規格に準拠しています。
-
SAE規格とは何ですか?
-
SAE規格は、米国の技術者団体 SAE International が定める規格です。
油圧ホース、継手、潤滑油、バッテリーなど、多くの産業製品に採用されています。
当社では、 ユニファイネジ(UNF)や ORB(Oリングボス) の継手が SAE 規格に属します。
-
DIN規格とは何ですか?
-
DIN規格(Deutsches Institut für Normung)は、ドイツ規格協会によるドイツの国家規格です。
配管・機械・電気・自動車など非常に幅広い分野で利用され、世界的にも信頼性の高い規格です。
当社が扱う油圧継手の中では、EO / EO‑2 継手(パーカーの鋼管くいこみ継手)が代表的です。
-
メートルネジ・ユニファイネジ・ガスネジの違いを教えてください。
-
ネジ規格は大きく「メートルネジ(ISO)」「ユニファイネジ(SAE)」「ガスネジ(JIS)」の3種があり、使用される国・規格・シール方式が異なります。
メートルネジ
国際規格(ISO)として採用され最も使用されているネジで、「ミリネジ」とも呼ばれます。呼び径とピッチの単位をメートル法で表したものです。油圧継手、特にDIN規格では主にメートル細目ネジが使われています。
- 並目(標準ピッチ)と細目(ピッチが細かい)がある
- ネジの山角は 60°
- シール方式
- 30°フレアシート
- 根本Oリング(ORB系) など
主な使用製品・機械
- コマツ フォークリフト
- リープヘル、ヴィルトゲン、プツマイスター等
ユニファイネジ
アメリカのSAE規格のネジで、日本のJISでも採用され、国内でも広く使用されています。ユニファイネジのピッチは1インチ(25.4mm)を山数で割った値になります。
- UNC:並目(標準ピッチ)とUNF:細目(ピッチが細かい)がある
- ネジの山角は 60°
- シール方式
- 37°フレアシート(JIC)
- Oリング(根本Oリング、フェイスシール)など
主な使用製品・機械
- トヨタ フォークリフト
- 日立・コマツの建設機械
ガスネジ
日本の油圧・配管で最も多く使用される「管用ネジ」で、テーパーネジ(R/Rc)と平行ネジ(G)の2種類があります。
テーパーネジ(R/Rc)
旧JIS規格のPTネジを指します。ネジ形状が先端に向けて細くなる傾斜がついています。
- ネジの山角は55°
- シール方式
- シールテープ
- シール剤
平行ネジ(G)
旧JIS規格のPFネジを指します。ネジ部が軸に対して平行な(テーパーしていない)形状をしています。
- ネジの山角は55°
- シール方式
- 30°シート面
- Oリング
- パッキン など
主な使用製品・機械
- オカダアイヨンのアタッチメント
- 三菱フォークリフト
- ヤンマーブレーカーホース
- 国内製の多くの油圧機械
-
ネジ規格が分からない場合、どのように判別すれば良いですか?
-
ネジ規格は「外径」「ピッチ(山と山の間隔)」「シート形状」を確認することで判別できますが、慣れていないと判別が難しい場合があります。
当社では、初めての方でも簡単に確認できる 「合わせネジセット(ネジ判別工具)」 をご用意しています。口金具やアダプターに「合わせネジ」を当てるだけで、どの規格か一目で判別できる仕組みになっています。
規格違いのネジは原則接続できません。誤った組み合わせは 漏れ・抜け・破損の原因 となりますので、必ず規格を確認してからご購入ください。








